扫码打开虎嗅APP
大家晚上好。
去年年底,华为CFO、任正非之女孟晚舟被美国暂扣,时至今日也没恢复自由之身。今天,消息表示,美国将向加拿大正式提出引渡孟晚舟,矛盾还在继续。
据加拿大《环球邮报》今晨报道,美国将向加拿大正式提出引渡孟晚舟。对此,中方已多次就此事件表示严正立场。任何具有正常判断力的人都可以看出,孟晚舟案不是普通司法案件,加方任意滥用加美之间的双边引渡条约,对中国公民的安全和合法权益构成严重侵犯。我们敦促加方立即释放孟晚舟女士,切实保障她的合法权益。我们也强烈敦促美方立即纠正错误,撤销对孟晚舟的逮捕令,不向加方提出正式引渡要求。
对此,华为表示:“我们已经注意到相关报道,并将密切关注事件进展。华为遵守业务所在国的所有适用法律法规,包括联合国、美国和欧盟适用的出口管制和制裁法律法规。华为希望美国和加拿大政府能早日还孟女士以自由,并相信加拿大和美国的法律体系后续会给出公正的结论。”
另一则有关华为的消息:
据彭博报道,华为副董事长胡厚崑在达沃斯小组讨论中表示,已在10个国家部署5G网络,预计未来12个月将在20个国家部署5G。此前华为创始人任正非接受央视采访时表示,目前,从亚洲到欧洲,从南美洲到北美洲,华为在全球170个国家开展业务,已经签署了30个5G商用合同,5G基站全球发货超过2.5万个。
唉……加油吧。
新华社报道,记者从国家税务总局、国家广播电视总局、国家电影局了解到,按照中宣部等五部门有关通知要求,自2018年10月开展规范影视行业税收秩序工作以来,影视行业纳税人认真开展了自查自纠。截至2018年底,自查申报税款117.47亿元,已入库115.53亿元。目前自查自纠阶段已经结束,规范工作转入督促纠正阶段。
117个亿……
凤凰科技报道,锤子科技已经接到临时通知,要求改签劳动合同到今日头条的母公司“字节跳动”。报道指出,此次劳动合同改签,也坐实了今日头条收购锤子科技的传言,只不过具体收购细节目前还没有得到双方的正式公布。随后,字节跳动发布声明表示“字节跳动收购了锤子科技部分专利使用权,探索教育领域相关业务。因为具体交易涉及保密条款,不便披露。也有锤子员工入职公司,这是正常的人才流动。”
另一则有关字节跳动的消息:
1月15日,今日头条系社交产品多闪发布,主打视频社交,定位于增进亲密关系、熟人社交。这款产品的发布,相较于抖音来说,升级了IM功能,方便用户进行私信沟通。今日,多闪官方宣布,iOS测试版App已经正式上架苹果App Store,多闪方面称,目前的上架版本依然为测试版本。

另外,知乎短视频App“即影”于苹果App Store和各主要安卓应用商店正式上线。据官方介绍,该App定位是简单好玩的日常生活记录方式,帮助快速制作风格独特的影像内容,该App去年就已经开启了内测。
和腾讯的竞争全面打响……下面关注另外一家做资讯的创业公司:
昨天晚间,一点资讯发布内部信称,一点资讯CEO李亚被免除职务,任旭阳接任CEO一职。对此,一点资讯李亚发布内部信称,昨晚收到的关于一点CEO任免邮件,我和很多同事、同行一样感到突然震惊。大家收到的邮件通知,本身程序不合规、不具有法律意义上的任免效果。这个全员通知邮件却如此迫不及待,本身不仅说明了动议者的心虚,更揭示出对公司治理与公司声誉的极端漠视。

闹剧天天有……
滴滴今日发布《2019年春运安全出行保障公告》,公告显示,滴滴成立了春节安全工作指挥部,程维、柳青任总指挥,各级人员实行24小时轮岗值班制度,以保障春运期间高效应答并妥善处置各类紧急事件,还有警方调证对接工作组7X24小时工作,保护司乘安全。滴滴还将提前12小时通过司机端推送极端天气预报,并向乘客发送相应提醒,以方便乘客出行。
少了顺风车,安全系数的确上去了……
界面报道,天津市教委下发《关于寒假期间开展校外培训机构治理工作的通知》,通报了校外培训机构整改状况。在为期8个多月的校外培训机构专项治理期间,天津市治理整改完成率达到100%。治理期间,共摸排出校外培训机构5675家,发现问题予以整改的机构5268家。在予以整改机构中,4125家停止办学,846家经行政审批获得办学许可证,其余虽有办学许可但存在其他问题的培训机构也全部完成整改,治理整改完成率100%。
另一条有关整改的消息:
1月22日,北京市互联网信息办公室针对天天快报客户端传播低俗庸俗信息、破坏网络生态等问题,约谈其相关负责人,责令立即全面深入整改。整改期间,天天快报客户端“推荐”频道自2019年1月22日18时起暂停更新一周,企鹅号“王星星是吃货”“观天下阅然纸上”“爱生活朱莺”“情感解析斋”注销并纳入黑名单管理。天天快报相关负责人表示,将严格落实约谈要求,切实履行主体责任,加强网络生态治理,依法办网。
字节跳动的社交产品上线,腾讯的新闻 App 暂停更新……
澳大利亚房地产网站domain报道称,章泽天已出售悉尼的豪宅,价格1350万澳元,买家为酒店大亨Ramy Arnaout及其妻子Nadia。2015年初,刘强东曾花费1620万澳元为章泽天在悉尼岩石区购买了一套三层楼的顶层公寓。2017年,章泽天将这套顶楼公寓挂牌出售,标价1800万澳元。但由于这两年澳洲地产价格回落,最终亏本出售。

错过一幢豪宅,扼腕叹息中。
这个冬天有点冷:
据中国新闻网报道,近日有消费者表示,GoFun出现退押金难的情况,该消费者称:“1月3日申请退的699元押金,到现在GoFun都是‘无理由不退’”、“开始他们说是系统出现问题,原路退回不了,让填写银行卡号后,还是无理由不退。”对此,GoFun相关工作人员回应,“技术还在查微信退款不成功的原因,我们会尽快核实并退还押金。”
话说,你的 ofo 押金退回来了吗?
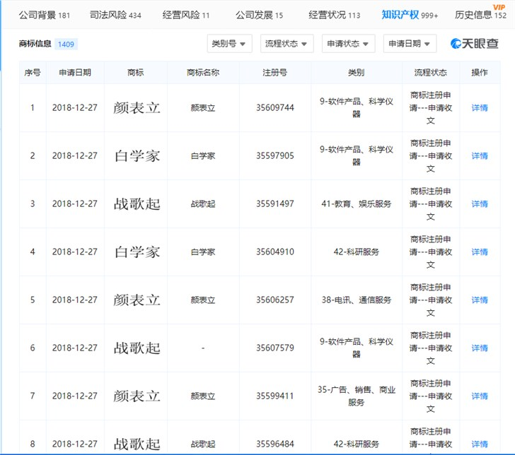
据天眼查消息,哔哩哔哩公司上海幻电信息科技有限公司于近日申请注册了多个商标,包括开口跪、战歌起、颜表立,还有白学家等。开口跪、战歌起、颜表立,还有白学家等都是B站2018年度十大弹幕词榜单中的一员。

你觉得这些来源于网络的梗,应该被某家具体的公司注册吗?
视线转向国际:
外媒发布了一张已获苹果授权发布的最新专利图。从图上看,一台iPhone可用来驱动一台苹果品牌的笔记本,且图中的笔记本在触控板部位拥有一个凹槽,能置入iPhone。这可能是苹果畅想的移动和桌面设备混合化的未来。不过,这项功能是否能应用于下一代iPhone,尚未可知。

这类产品形态不是首创了,看看苹果能把它优化成什么样子吧。
据《电子时报》报道,来自供应链的消息显示,AirPower最终投产,将在今年晚些时候上市。相关供应商消息称,他们正持续接到来自苹果AirPower的玻璃钝化(GPP)桥式整流器订单。当AirPower在今年晚些时候上市时,他们的出货量预计会进一步增加。

无线充电还是很方便的。
另一则和苹果息息相关的消息。
据证券时报e公司报道,富士康科技集团就近期媒体报道的裁员问题回应称,为配合集团全球布局及客户业务发展需求,不同园区的员工数量调配为集团常规性动作。富士康表示,集团持续推动工业互联网智能制造转型升级,并致力于集团员工的培育与技能再提升。而在2019年首季度,该集团在大陆部分厂区仍有逾5万人力招募需求。上周五晚,日经新闻援引知情人士报道称,2018年10月以来,富士康组装iPhone的工厂已裁员5万人。
“去 iPhone 化”失败……
下面是扬一则“辟谣”:
今日上午,路透社援引消息人士报道称,特斯拉目前已经和天津力神电池股份有限公司签订一项初步协议,天津力神将为特斯拉在上海的新汽车工厂提供电池,同时减少特斯拉自身对日本松下的依赖。
对此,特斯拉方面回应称,并未和天津力神签署任何类型的协议,仅仅是收到了天津力神方面的报价但未作进一步处理。目前,日本松下是特斯拉的独家电池供应商。
据外媒报道,日本科技公司索尼计划将其英国总部迁至荷兰,因为它担心英国脱欧的潜在后果。此举将使该公司在阿姆斯特丹注册其33亿英镑的欧洲业务,将其从目前位于萨里的Weybridge搬迁。根据“每日电讯报”看到的文件,此举可能会在2019年3月29日完成。索尼表示,合并的目的是“在不中断的情况下继续照常营业”,不会导致员工失业。搬迁后,索尼追随日本同行松下公司的脚步,该公司去年也宣布计划将其欧洲总部搬迁至阿姆斯特丹。

以上,大家晚安。