扫码打开虎嗅APP
本文来自微信公众号:旅界 (ID:tourismzonenews),作者:theodore熙少,题图来自:视觉中国
一
昨日,一则交通运输部发布的对美船舶收取特别港务费公告,引起邮轮圈极大关注。
作为对美国即将向中国船舶征收港口费的反制措施,该公告明确指出中国将于2025年10月14日起,对美国及关联船舶征收船舶特别港务费。
根据公告解释,无论船东、运营商是否在美国注册,只要企业持有25%以上美资股份,或船舶悬挂美国国旗、由美国建造,一旦靠泊中国港口,都将纳入收费范围。
值得一提的是,这一特别港务费将按航次计收、以净吨计价,并设四年阶梯上调机制:从2025年10月14日起,每净吨400元起,逐年提升至2028年的1120元。
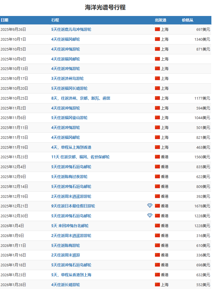
以多家美资持股的皇家加勒比游轮为例,在上海母港运营的海洋光谱号总吨位为16.8万吨,净吨位(指可计入营运用途的封闭空间体积,是港务费计费依据)几乎等同。
按照特别港务费收取办法,今年该船在华运营的单个航次最高将收取约6736万元特别港务费。
所幸该政策设置了两道保险杠,每条美船舶一年内最多收费5个航次,同一航次若挂靠多个中国港口,也只在首个港口收一次,避免重复征收。
但即使如此,这笔港务费也绝对会让皇家加勒比游轮吃不消。
旅界统计发现,接下来的一年航期,海洋光谱号共在华运营76个航次,若按每次满载4905人,并将全年最高上限的5次港务费(约3.368亿元)平均分摊到所有旅客头上,则每位旅客将需额外承担约1000元左右的人民币额外成本。

但值得注意的是,海洋光谱号接下来的运营不可能每一程都是爆满,尤其在国庆后、农历新年后到暑期前、以及秋冬交替的淡季时段,航次空舱率难以避免。
换句话说,邮轮条条船满载的理想状态本就不现实,若实际登船人数低于测算基数,人均分担的港务费只会更高,而无法传导出去的成本缺口,最终也将落回邮轮公司自身肩上。
同时,若该政策继续实行,在2026年10月后,海洋光谱号的特别港务费将在2025年基础上再次上涨60%,对于皇家加勒比而言,这无疑是一场经营压力的实质加码。
如何认定、申报与执行,交通运输部将出台具体实施细则。从目前披露内容看,该政策在有力反制与可控落地之间寻求了一种相对平衡。
二
2025年,皇家加勒比游轮的困境远不止中国即将收取的特别港务费。
今年3月,美国商务部长卢特尼克批评邮轮公司利用船籍注册漏洞来逃避美国所得税,不仅要求他们改用美国籍注册船舶,还誓言特朗普政府会让他们缴纳更多税款。
目前,皇家加勒比游轮、嘉年华邮轮、挪威邮轮等美资控股的邮轮公司总部都位于美国佛罗里达州,但在国外注册成立。
例如,皇家加勒比游轮是注册在西非利比里亚的公司,挪威邮轮公司则在巴哈马成立,这意味着这些邮轮公司无需缴纳高达21%的美国企业所得税。
美国的邮轮公司特别税款未至,中国的特别港务费已经到了。
眼下的皇家加勒比,正陷于两头加码的政策缝隙,一边是中国母港每年3.5亿元的硬成本已不可回避,另一边则是美国政府重新审视邮轮公司的税务豁免,随时可能撬开《美国税法第883条》留下的避税口子。
在这场全球监管的双重夹击中,美资控股的邮轮公司能调整的空间正变得越来越小,成本的腾挪余地也越来越少。
曾经总部设在迈阿密、注册挂靠利比里亚、全球航线卖给中国人的避风港模型,正在变成一艘四面吃水的重船,驶入政策波涛最汹涌的水域。
同时,后疫情时代,旅界曾经报道皇家加勒比游轮临时更改港口无任何赔偿,以及在中国餐食、服务标准下降引来诸多客人非议。
而在渠道端,皇家对代理商的沟通缺位、规则朝令夕改,也令不少业内人士感叹“合作做得像是跪着”。
当皇家加勒比游轮的问题还停留在本地化服务未跟上的舆论风波里,如今真正的成本战与政策雷正在陆续落地,压向这艘本就风雨飘摇的超级邮轮。
三
本周四,中国升级稀土管制,根据新规,如果一家全球性公司销售的商品中,从中国采购的某些稀土材料占到产品价值的0.1%或以上,该公司就需要获得中国政府的许可。
同一天,特朗普政府提议禁止中国航班经俄罗斯飞往美国。
关税之后是港务费,清单之后是空域和稀土,中美博弈在一步步走向精细化、节点化,邮轮行业也只是这场结构性博弈中最新的一块靶子。
据旅界不完全统计,受中国特别港务费影响的美船舶公司还包括班轮公司美森航运、负责大宗能源航运的嘉吉海运等,而皇家加勒比游轮作为目前唯一在华运营的美资邮轮公司代表,替美国邮轮业扛下了所有。
值得注意的是,疫情后,皇家加勒比游轮、MSC地中海邮轮曾取消多条已经计划好的天津母港航次停靠计划。
当新的特别港务费来袭后,未来皇家加勒比会更改上海等地的母港停靠计划吗?
事实上,如果皇家加勒比游轮最终决定暂停部分在华航次,临时调整港口并非不能操作,但这是一场没有人会轻松撤退的系统工程。
从母港视角看,一旦取消上海或香港,意味着要在日韩、新加坡、中国台湾甚至澳洲之间临时拉出一个替代港口,并完成当地靠泊批复、地接商更新、物资补给、船员轮班、岸上观光设计等十几项同步变更。
而邮轮靠泊不同于航司调航,一个新港口的切换从决策到落地,行业平均需提前6~12周,部分国家的入境安排甚至要求90天前确认。
此外,是对邮轮销售系统和票务的全面修补。
海洋光谱号的航次大多早已对外售票,一旦取消、调港或压缩日程,OTA、旅行社、邮轮自营渠道均需逐一联络旅客,处理退款、改期或替代行程,会大幅增加客服与技术系统的负担。
船期之间的联动风险也不能忽视。
邮轮不像航班,每一个航次的延误或取消,都会打乱下一航次的登船、清舱、补给与港口资源排班,尤其是像皇家加勒比这样多船协同、多港循环的运营体系,一环出错,连带成本和资源压力将迅速放大。
因此,哪怕合同条款中允许邮轮公司无需理由随时更改航线,实际运营中任何一次大规模的港口调整,都意味着一次调度体系的整体再计算。
此番对美船舶征收特别港务费,也对其他尚未在中国母港运营航线的“美国血统”邮轮公司是一番警醒。
根据中国港务费公告中的适用口径,囊括了皇家加勒比游轮旗下的精致游轮与银海邮轮,嘉年华邮轮、挪威邮轮、迪士尼邮轮、丽思卡尔顿游轮、荷美邮轮、丽晶邮轮、大洋邮轮、Seabourn等几乎所有主流美资控股邮轮品牌。
目前在华运营的意大利邮轮公司MSC地中海邮轮、中欧合资的招商维京游轮则不会被中国征收特别港务费。
同时,中国国产大型邮轮公司爱达邮轮,以及中资控股的蓝梦邮轮等因为主要运营目的地在国内,未在美国运营母港航线,也不受美方船舶征收港务费影响。
回头来看,美国对中国籍船舶加收港务费旨在打击中国造船业,但邮轮领域,美资邮轮公司若想在中国市场运营,将是单方面被征费的一方。
这正是当下最残酷的现实,全球政治走向碎片化,而邮轮系统依旧试图跑出一张全球一体化的航线表。
这场较量里,只有比谁更能吞下不确定性的运营能力。