扫码打开虎嗅APP

搜索历史
删除
完成
全部删除
热搜词
2026-01-29 10:23

被债权人申请“破产清算”,还背了1亿多司法债务,曾经的网红企业会退市吗?

本文来自微信公众号: 食品内参 ,作者:不浪费读者时间的


因近600万债务,“上市公司”麦趣尔被一个供应商申请了“破产清算”,它会因此退市吗?


从被告到被“申请破产”?


1月27日晚间,麦趣尔集团股份有限公司(下称“麦趣尔”)发布公告称,债权人广州市铭慧机械股份有限公司(以下简称“铭慧机械”)向新疆维吾尔自治区昌吉回族自治州中级人民法院(以下简称“昌吉州中院”)申请对麦趣尔进行破产清算。消息一出,麦趣尔转天的股价应声跌3.3%,报8.78元/股,总市值15.29亿元。


公开信息显示,麦趣尔成立于2002年12月30日,2014年在深交所上市,主营业务涉及乳制品的生产销售、以及烘焙食品的连锁经营,因2022年“丙二醇门”的食品安全事件,麦趣尔业绩急转直下,持续亏损多年。


前述事件的导火索源于一笔尚未结清的设备采购款。铭慧机械为麦趣尔的机器设备供应商,双方签订《固定资产(机械设备)合同》,麦趣尔以850.7万元的价格从铭慧机械购买2台无菌纸包装柔性灌装机等机械设备以及配套设备。麦趣尔已支付30%货款,共计255.21万元,剩余货款595.49万元尚未支付。


在提出破产清算之前,债权人不是没试过其他“更温和”的方式,比如打官司。铭慧机械曾一纸诉状将麦趣尔告到了法院。企查查显示,一审过后,铭慧机械已向法院申请强制对麦趣尔执行,执行标的金额为673.81万元,时间为2025年8月。这与前文提及的货款产生了近80万元的差额,这个差额或是货款之外的其他费用。麦趣尔也在公告中表示,前期纠纷所产生的诉讼费、违约金等已进行账务处理。


或是法院执行后,铭慧机械迟迟等不来被拖欠的货款,再加上担心每拖延一天,上市公司残存的价值就会流失一天,债权人的清偿希望就愈发渺茫的心理,于是债权人铭慧机械,向法院申请对麦趣尔破产清算。


麦趣尔称,截至公告披露日,公司未收到法院相关裁定,公司已按规定提出异议。公司目前经营正常,未达到《中华人民共和国企业破产法》所规定的“资产不足以清偿全部债务”或“明显缺乏清偿能力”的破产清算法定条件。


麦趣尔在公告中还提示了退市风险:后续公司是否进入破产清算程序尚存在重大不确定性,根据《深圳证券交易所股票上市规则(2025年修订)》第9.4.1条第九项的规定,如果法院依法受理公司破产清算申请,公司股票可能被深圳证券交易所实施退市风险警示。


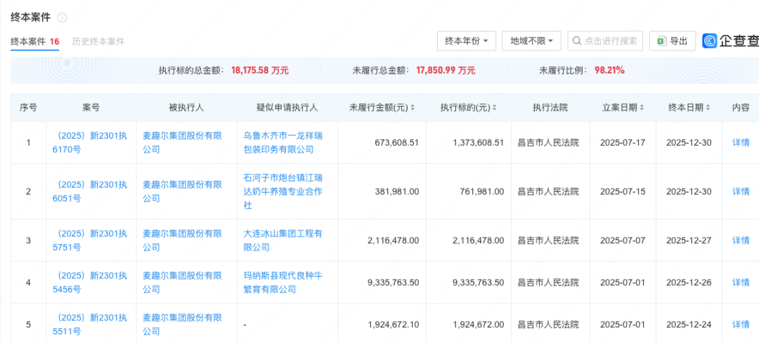
该债权人的动作,撕开了麦趣尔的真实现状,那就是其涉及的“债务”已堆了不少。并不只有上述这一笔,企查查显示,麦趣尔的5个被执行人案件构成了4270.08万元的被执行金额,其中就有铭慧机械这一笔。


除了被执行阶段的债务,麦趣尔还有11起终本案件。“终本案件”指法院因暂时找不到可执行的财产而中止执行的案子,这些未履行的欠款总额高达1.78亿元,未履行比例高达98.21%。此外,麦趣尔还有“失信被执行人”的涉案金额1342.20万元,限制高消费涉案金额3344.83万元。


据麦趣尔在此次公告中披露的近两年主要财务数据,截至2025年9月,公司总资产约10.9亿元,归母净资产约1.92亿元,粗略来看,麦趣尔当下的归母净资产已不能覆盖上述提及的这些已进入司法程序的债务,更遑论尚未起诉或正在审理中的潜在债务了。


因此,虽然麦趣尔披露2025年1-9月归母净利润亏损0.33亿元,亏损有所收窄,但这仍然不能给债权人带来信心。麦趣尔在公告中表示,已成立专项工作组,正在积极与相关债权人进行沟通,统筹制定一揽子债务风险化解方案,以从根本上改善公司财务状况。


只是,它真能化解这些债务吗?作为曾经的网红牛奶品牌,麦趣尔何至于此?


红极一时,又何至于此?


曾经红极一时的麦趣尔,因食安事件摔了一跤后,就再没起来,直到现在它甚至到了被设备供应商申请破产清算的地步。不禁要问,何至于此?


某种意义上来说,在早些时候,牛奶曾一度“拯救”了麦趣尔的业绩。


2014年上市后,麦趣尔业绩一路下滑,直到2018年和2019年,麦趣尔分别亏损1.55亿元、0.7亿元,一度被“ST”,濒临退市。


2020年,麦趣尔战略转向乳制品,抓住“新疆奶”“黄金奶源”等小众概念,并凭借“口感好”等差异化特色,通过直播带货、社交平台种草密集营销,迅速成为网红牛奶。乳制品营收占比由2019年的37.92%,提升到了2021年的63.94%,乳制品成为第一大主营业务,也因此推动了公司扭亏为盈。



2022年,麦趣尔的乳制品这一“大功臣”出了问题,麦趣尔的牛奶被抽检,昌吉市市场监管局认定,麦趣尔构成超范围使用食品添加剂生产食品的违法行为。而添加剂超标,被业内怀疑是为刻意改良口感而添加的。那么,麦趣尔为何剑走偏锋?


首先,麦趣尔牛奶走红,除了抓住了小众奶的风口,也推高了其销售费用。2020年麦趣尔的销售费用为1.03亿元,2021年其销售费用同比增长19.59%至1.23亿元。


其次,奶的成本居高不下也吞噬了麦趣尔的利润。麦趣尔奶源自给率较低,高度依赖外部采购,2021年前五大供应商采购额占比近38%。奶源自给有限的结果是原材料成本的居高不下。2021年麦趣尔营业成本高达9.3亿元,占同期营收的81%,其中,原材料占营业成本的比重达75%。


在蒙牛伊利等头部品牌都在争相布局奶源的时候,麦趣尔并没有这么做。彼时,它的重心在烘焙食品上。上市第二年即2015年,麦趣尔斥资3亿元收购了浙江新美心食品工业有限公司,重点投资烘焙业务,只是烘焙业务并未奏效,反倒不断拉低了其业绩。


直到2020年麦趣尔战略转向乳制品,才扭转了局面。只是,这个挽救麦趣尔于水火中的产品,出事后,更加速了其业绩的恶化程度。


三年过去,麦趣尔仍深陷泥沼。从2022年至2024年,麦趣尔累计亏损超6.8亿元。


2022年以后,麦趣尔又把战略放回了烘焙食品,某种程度上来说,烘焙食品也撑起了其基本盘,乳制品的营收规模已从2021年的7.33亿元缩水至2025年上半年的0.89亿元,营收占比从63%下滑至30.31%。


值得欣慰的是,2025年上半年麦趣尔的归母净利润扭亏为盈,但扣非净利润仍是亏的,二者均有所收窄。


2025年三季度末,麦趣尔账上现金仅余约1200万元,却背负着数亿元的司法债务、处境并不乐观。与此同时,第二大股东又在不断减持套现。


那么,面临被供应商申请破产的局面,麦趣尔或会最终走向退市吗?

本内容来源于网络 原文链接,观点仅代表作者本人,不代表虎嗅立场。
如涉及版权问题请联系 hezuo@huxiu.com,我们将及时核实并处理。
频道: 金融财经

支持一下

赞赏

0人已赞赏

大 家 都 在 搜

好的内容,值得赞赏

您的赞赏金额会直接进入作者的虎嗅账号

    自定义
    支付: